Services
Simplify your process
;
B.A. Liechty, Research and Development Engineer
R.C. Dillion, Engineering Technician
In August of 2015 progress towards making wire with microgrooves in the guidewire size range was summarized in A New Take on Wire Geometry – Functional Grooves. Now the focus has shifted to comparing the mechanical performance to that of solid round wire.
Five straightened 304V (ASTM A313) stainless steel wires were tested: three grooved (described by nominal OD and groove shape), and two round. Actual OD refers to each wire’s round diameter as measured on a bench micrometer, while the Equivalent OD refers to the round wire diameter that has an equivalent cross sectional area to that of each grooved wire.
| Sample | Equivalent OD (in) |
Approximate Groove Area (%) |
|
0.0134 |
0.01304 | 6 |
|
0.0137 |
0.01334 | 6 |
|
0.0134 |
0.01270 | 11 |
|
0.012 |
N/A | N/A |
|
0.015 |
N/A | N/A |

Thus far, much of the grooved work has been focused on spring temper 304V. Tensile strengths higher than 325 ksi are achievable when the missing cross section due to the groove is accounted for.
| Computed using Actual OD | Computed using Equivalent OD | ||||||
| Sample | Elongation (%) |
Tensile Strength | Yield Strength | Modulus | Tensile Strength | Yield Strength | Modulus |
|
0.0134 |
2.2 | 310 ksi | 271 ksi | 26.6 Msi | 327 ksi | 286 ksi | 28.2 Msi |
|
0.0137 |
2.6 | 323 ksi | 243 ksi | 26.2 Msi | 344 ksi | 259 ksi | 27.9 Msi |
|
0.0134 |
2.7 | 293 ksi | 224 ksi | 24.1 Msi | 328 ksi | 251 ksi | 27.0 Msi |
|
0.012 SLT |
2.5 | 337 ksi | 257 ksi | 28.6 Msi | |||
|
0.015 SLT |
2.6 | 299 ksi | 229 ksi | 27.7 Msi | |||
Rotary beam fatigue testing was performed in order to see if the grooves significantly impact fatigue life. There was a large amount of overlap between the grooved and round wire results.

Fully reversed (R = -1) rotary beam fatigue @ 60Hz
The grooves necessarily spiral around the OD of the wire, so torsion testing was performed to see if the handedness of the groove (left hand helix vs. right hand helix) significantly impacts torque characteristics.
| Sample | Groove Pitch | Test Direction | Revolutions to Fracture | Yield Strength | Shear Strength | Shear Modulus |
| 0.0134 Deep and narrow |
0.63 in |
Clockwise |
191 | 148 ksi | 241 ksi | 9.3 |
|
Counter Clockwise |
210 | 121 ksi | 240 ksi | 8.8 | ||
|
0.0137 |
0.50 | Clockwise | 255 | 119 ksi | 235 ksi | 9.1 |
|
Counter Clockwise |
217 | 124 ksi | 227 ksi | 9.0 | ||
|
0.0134 |
0.47 |
Clockwise |
249 | 120 ksi | 240 ksi | 7.9 |
|
Counter Clockwise |
265 | 111 ksi | 234 ksi | 6.8 | ||
|
0.0012 |
N/A |
Clockwise |
274 | 120 ksi | 177 ksi | 5.5 |
|
Counter Clockwise |
327 | 133 ksi | 208 ksi | 6.2 | ||
|
0.015 |
N/A |
Clockwise |
200 | 155 ksi | 235 ksi | 9.7 |
|
Counter Clockwise |
233 | 151 ksi | 232 ksi | 9.8 |
Differences in bending stiffness were anticipated, depending on how the groove was oriented relative to the point of contact with the pin the wire was being bent around.
| Sample | Orientation | Average Yield Load (N*cm) |
Average Ultimate Load (N*cm) |
|
0.0134 |
A |
1.01 | 1.41 |
|
B |
1.05 | 1.47 | |
|
C |
1.01 | 1.40 | |
|
0.0137 |
A |
1.10 | 1.56 |
|
B |
1.16 | 1.63 | |
|
C |
1.07 | 1.53 | |
|
0.0134 |
A |
0.89 | 1.25 |
|
B |
0.98 | 1.41 | |
|
C |
0.88 | 1.23 | |
|
0.012 |
N/A | 0.75 | 1.07 |
|
0.015 |
N/A | 1.45 | 2.06 |
All specimens achieved 30 bends without fracture; each result is the average of five (5) tests. Each test was run using a 7 N•cm torque?type load cell with a 0.3 cm moment arm. Each test specimen was subjected to 90° bends; if no fracture was detected, the test was terminated after 30 bends. Each grooved sample was tested in three (3) orientations, such that the groove was oriented at the fulcrum as shown.

The yellow arrow indicates the bending direction, while the red arrows/letters indicate various groove orientations:
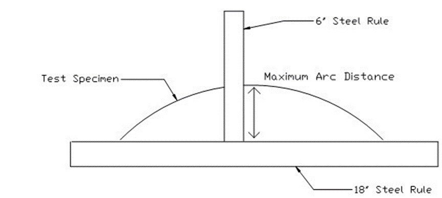
Finally, dynamic cast resistance (DCR) testing was ran to explore the groove’s impact on the wire’s resistance to taking a permanent set when bent over a known radius under tension.
| Sample | Arc Height |
Arc Height |
|
0.0134 |
0.49 in | 12.5 mm |
|
0.0137 |
0.83 in | 21.0 mm |
|
0.0134 |
0.94 in | 24.0 mm |
|
0.012 |
0.48 in | 12.1 mm |
|
0.015 |
1.05 in | 26.7 mm |
The basic DCR test method is as follows:

Ultimately, some mechanical performance is sacrificed by having the groove. However, the grooved samples all performed within a reasonable range that was bracketed out by the round wire test data. Future trials will try to optimize the mechanical properties and push strength levels towards 400 ksi. Stay tuned!
Click here to see previous highlights.
Disclaimer: Our monthly highlights are sneak peeks of what our R & D department is working on. This does not mean we have what is referenced above ready for manufacturing.
B.A. Liechty, Research and Development Engineer
R.C. Dillion, Engineering Technician
In August of 2015 progress towards making wire with microgrooves in the guidewire size range was summarized in A New Take on Wire Geometry – Functional Grooves. Now the focus has shifted to comparing the mechanical performance to that of solid round wire.
Five straightened 304V (ASTM A313) stainless steel wires were tested: three grooved (described by nominal OD and groove shape), and two round. Actual OD refers to each wire’s round diameter as measured on a bench micrometer, while the Equivalent OD refers to the round wire diameter that has an equivalent cross sectional area to that of each grooved wire.
| Sample | Equivalent OD (in) |
Approximate Groove Area (%) |
|
0.0134 |
0.01304 | 6 |
|
0.0137 |
0.01334 | 6 |
|
0.0134 |
0.01270 | 11 |
|
0.012 |
N/A | N/A |
|
0.015 |
N/A | N/A |

Thus far, much of the grooved work has been focused on spring temper 304V. Tensile strengths higher than 325 ksi are achievable when the missing cross section due to the groove is accounted for.
| Computed using Actual OD | Computed using Equivalent OD | ||||||
| Sample | Elongation (%) |
Tensile Strength | Yield Strength | Modulus | Tensile Strength | Yield Strength | Modulus |
|
0.0134 |
2.2 | 310 ksi | 271 ksi | 26.6 Msi | 327 ksi | 286 ksi | 28.2 Msi |
|
0.0137 |
2.6 | 323 ksi | 243 ksi | 26.2 Msi | 344 ksi | 259 ksi | 27.9 Msi |
|
0.0134 |
2.7 | 293 ksi | 224 ksi | 24.1 Msi | 328 ksi | 251 ksi | 27.0 Msi |
|
0.012 SLT |
2.5 | 337 ksi | 257 ksi | 28.6 Msi | |||
|
0.015 SLT |
2.6 | 299 ksi | 229 ksi | 27.7 Msi | |||
Rotary beam fatigue testing was performed in order to see if the grooves significantly impact fatigue life. There was a large amount of overlap between the grooved and round wire results.

Fully reversed (R = -1) rotary beam fatigue @ 60Hz
The grooves necessarily spiral around the OD of the wire, so torsion testing was performed to see if the handedness of the groove (left hand helix vs. right hand helix) significantly impacts torque characteristics.
| Sample | Groove Pitch | Test Direction | Revolutions to Fracture | Yield Strength | Shear Strength | Shear Modulus |
| 0.0134 Deep and narrow |
0.63 in |
Clockwise |
191 | 148 ksi | 241 ksi | 9.3 |
|
Counter Clockwise |
210 | 121 ksi | 240 ksi | 8.8 | ||
|
0.0137 |
0.50 | Clockwise | 255 | 119 ksi | 235 ksi | 9.1 |
|
Counter Clockwise |
217 | 124 ksi | 227 ksi | 9.0 | ||
|
0.0134 |
0.47 |
Clockwise |
249 | 120 ksi | 240 ksi | 7.9 |
|
Counter Clockwise |
265 | 111 ksi | 234 ksi | 6.8 | ||
|
0.0012 |
N/A |
Clockwise |
274 | 120 ksi | 177 ksi | 5.5 |
|
Counter Clockwise |
327 | 133 ksi | 208 ksi | 6.2 | ||
|
0.015 |
N/A |
Clockwise |
200 | 155 ksi | 235 ksi | 9.7 |
|
Counter Clockwise |
233 | 151 ksi | 232 ksi | 9.8 |
Differences in bending stiffness were anticipated, depending on how the groove was oriented relative to the point of contact with the pin the wire was being bent around.
| Sample | Orientation | Average Yield Load (N*cm) |
Average Ultimate Load (N*cm) |
|
0.0134 |
A |
1.01 | 1.41 |
|
B |
1.05 | 1.47 | |
|
C |
1.01 | 1.40 | |
|
0.0137 |
A |
1.10 | 1.56 |
|
B |
1.16 | 1.63 | |
|
C |
1.07 | 1.53 | |
|
0.0134 |
A |
0.89 | 1.25 |
|
B |
0.98 | 1.41 | |
|
C |
0.88 | 1.23 | |
|
0.012 |
N/A | 0.75 | 1.07 |
|
0.015 |
N/A | 1.45 | 2.06 |
All specimens achieved 30 bends without fracture; each result is the average of five (5) tests. Each test was run using a 7 N•cm torque?type load cell with a 0.3 cm moment arm. Each test specimen was subjected to 90° bends; if no fracture was detected, the test was terminated after 30 bends. Each grooved sample was tested in three (3) orientations, such that the groove was oriented at the fulcrum as shown.

The yellow arrow indicates the bending direction, while the red arrows/letters indicate various groove orientations:
Finally, dynamic cast resistance (DCR) testing was ran to explore the groove’s impact on the wire’s resistance to taking a permanent set when bent over a known radius under tension.
| Sample | Arc Height |
Arc Height |
|
0.0134 |
0.49 in | 12.5 mm |
|
0.0137 |
0.83 in | 21.0 mm |
|
0.0134 |
0.94 in | 24.0 mm |
|
0.012 |
0.48 in | 12.1 mm |
|
0.015 |
1.05 in | 26.7 mm |
The basic DCR test method is as follows:

Ultimately, some mechanical performance is sacrificed by having the groove. However, the grooved samples all performed within a reasonable range that was bracketed out by the round wire test data. Future trials will try to optimize the mechanical properties and push strength levels towards 400 ksi. Stay tuned!
Click here to see previous highlights.
Disclaimer: Our monthly highlights are sneak peeks of what our R & D department is working on. This does not mean we have what is referenced above ready for manufacturing.